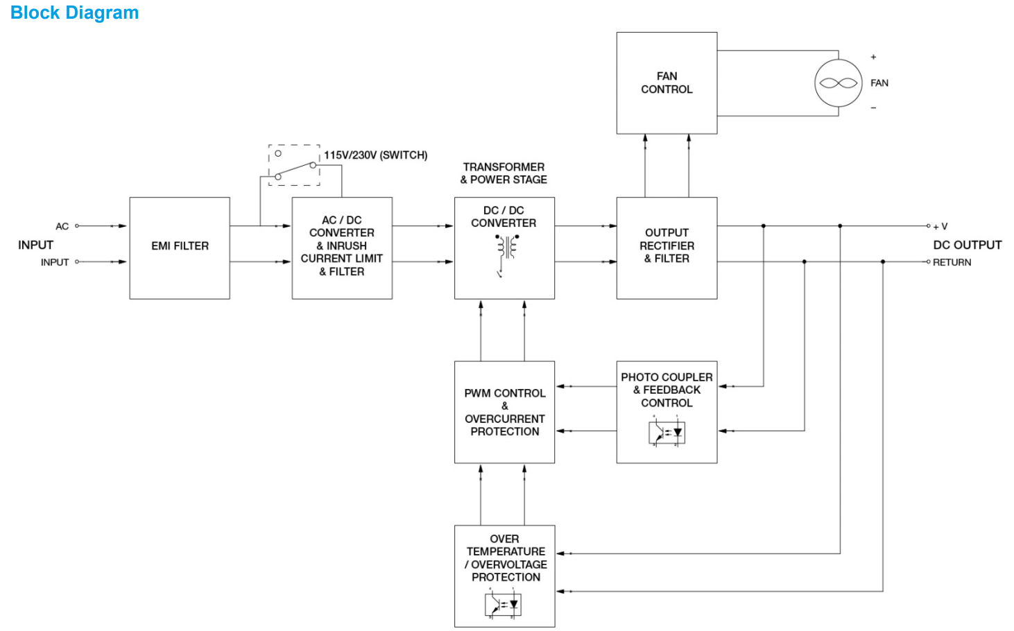
PMT-24V350W1A☐提供24V的标称输出电压,工作温度范围从-10°C到+70°C,并能够承受根据IEC60068-2的冲击和振动。除了过压和过载保护等功能外,Delta的PMT系列面板安装电源也不同于许多其他品牌在相同的价格水平上。PMT系列是为成本竞争的市场设计的,而不影响组件的质量和产品规格。该系列产品的预期寿命为10年,输出功率为100Vac至132Vac,200Vac至264Vac。
亮点与特色
- 交流输入电压选择开关
- 铝制外壳和底盘全方位防腐蚀
- 内置自动风扇控速电路
- MTBF > 700,000 hrs Telcordia SR-332
- 短路 / 过压 / 过负载 / 过温保护
输出电压
24V
输出功率
350.4W
输出电流
14.6A
输入电压范围
90-132Vac, 180-264Vac (Selectable by Switch)
尺寸 (L x W x H)
215 x 115 x 50 mm
8.46” x 4.53” x 1.97”
重量
0.82 kg (1.81 lb)
简体中文
English
Russian
全国服务热线












